Перейти к содержанию

Ламповый усилитель начального уровня на 6Ф3П, 6Ф5П


Рекомендуемые сообщения

Действительно, все в одной теме,моя рассеянность не знает границ. Спасибо.

В оригинальной схеме меня смущает неясное мне Uсмещения "-см". В мессаге №260 ясно,

а в №295 - какое Uпит, что за А+ точки? к катоду триода какой-то кондер прилеплен полумиражный, что за транс выходной? Это просто разрыв мозга, час сидел размышлял что бы это могло быть. :smile:

Почему я вдруг заинтересовался этой темой - в журнале Радио № 4 от 2010г. статья о электронном трансформаторе. Заинтересовала схема - немного отличается от моей на 6Н1П+6П14П. Подумал а что если собрать на 6ф5п и послушать, какова разница? Уж очень все хвалят все эту лампу. К тому же друг подарил коробку ламп, из них там набралось 15 штук.

Каким образом рассчитать номиналы на 6Ф5П вместо 6Ф3П ?

 

ЗЫ. Намедни заметил, что собрав один усилитель начинаешь думать уже о другом, какой сделать корпус, какие взять трансы - найти готовые или рискнуть и попробовать намотать самому,а может купить ТАНы и сваять? а может на 6П36С или 6П44С??? а может...

Болезнь какая-то, засыпаешь и думаешь-а вставлю-ка я в выпрямитель пару 6Д20П, благо их много и задержка анодного, никаких полупроводников...

Засасывает, чесна.

post-6368-1310399992_thumb.jpg

Изменено пользователем mitrych
Ссылка на комментарий
Поделиться на другие сайты

  • Ответов 452
  • Создана
  • Последний ответ

Топ авторов темы

_https://sites.google.com/site/moiusiliteli/stati-stalker/6f5p-pentodnyj-odnotaktnyj

Вот еще вариант усилителя на 6Ф5П от Михаила.

 

ЗЫ. Намедни заметил, что собрав один усилитель начинаешь думать уже о другом, какой сделать корпус, какие взять трансы - найти готовые или рискнуть и попробовать намотать самому,а может купить ТАНы и сваять? а может на 6П36С или 6П44С??? а может...

Болезнь какая-то, засыпаешь и думаешь-а вставлю-ка я в выпрямитель пару 6Д20П, благо их много и задержка анодного, никаких полупроводников...

Засасывает, чесна.

Как там Высоцкий пел когда то?

Лучше ламп могут быть только лампы,

Те которых еще не слыхал....

Ссылка на комментарий
Поделиться на другие сайты

_https://sites.google.com/site/moiusiliteli/stati-stalker/6f5p-pentodnyj-odnotaktnyj

Вот еще вариант усилителя на 6Ф5П от Михаила.

 

Это та же самая схема из сообщения №295, и опять секретная точка А+.

Ссылка на комментарий
Поделиться на другие сайты

Это та же самая схема из сообщения №295, и опять секретная точка А+.

И что в ней секретного? Просто две точки при монтаже надо соединить между собой.

Ссылка на комментарий
Поделиться на другие сайты

Жесть!!! :smile: Я думал все что угодно, только не о соединении этих двух точек. По-моему на схемах принято обозначать только землю таким образом. Ну да ладно, спасибо за ответы,буду знать. Попробую собрать один канал по этой схеме и сравню с каналом на 6Н1П+6П14П, жутко любопытно.

Изменено пользователем mitrych
Ссылка на комментарий
Поделиться на другие сайты

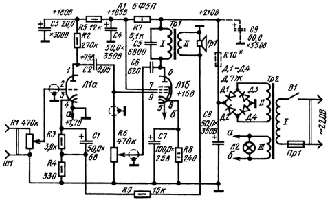
Cобрал и настроил усилитель по схеме Владимира Пронина(ua1ong), немного подправив под лампу 6Ф5П... Работает отлично, прогрел как следует лампы... Даже подумываю разделительный конденсатор немного поменьше номиналом поставить, например как у оригинальной схеме Пронина - 0,068uF... Единственное, что очень захотел попробовать лампу не в триодном включении, а в пентодном - для сравнения... Прошу помочь слегка подправить схемку, если кто может! Схема усилителя, что сейчас собран с номиналами на картинке. Буду признателен за помощь!

 

post-783-1311241009_thumb.png

Изменено пользователем lamaka
Ссылка на комментарий
Поделиться на другие сайты

  • 3 недели спустя...

Списывался с Михаилом (Lector) и он порекомендовал схему пентодного включения 6Ф5П(Александр выше в приводил ссылку), дал ссылочку на его сайт, за что ему отдельно спасибо... впринципе я ее и раньше видел и у него же, но как-то скептически отнесся... в выходной пока ребенок спал днем, решил таки быстренько ради интереса смакетить и послушать... все элементы были под рукой, кроме разделительного конденсатора... хотелось "сейчас" и поэтому поставил что было - пленочный "Орбит", хотя это не есть гуд... со сверлением и поиском нужных номиналов заняло часа полтора... к тому моменту уже ребенок проснулся и можно было включить и послушать... процесс "послушать" затянулся на целых 6 часов... разница в звуке триодного и пентодного включения колоссальная... лампа 6Ф5П реально стала звучать... описывать какой "красивый, воздущный и живой" звук не буду... в качестве первого лампового уся я бы посоветовал именно пентодное включение и эту схему, т.к. она точно также легко повторяема, как и классическая "Манаковская"... осталось дело за малым, переделать свой усь под пентодное...

post-783-1312067120_thumb.jpg post-783-1312067135_thumb.jpg

Изменено пользователем lamaka
Ссылка на комментарий
Поделиться на другие сайты

по моей слуховой оценке примерно на треть мощности стало больше, но... при выкручивании громкости более чем на 2/3 начинаются небольшие искажения, чего в триодном варианте я не наблюдал, ну разве что если слушая .mp3 сомнительного качества... хотя 2/3 громкости для меня уже некомфортно... слушаю на 1/3... звук намного динамичнее, более драйвовый... в триодном варианте он все-таки более "винтажный", на нем хорошо слушать джаз, блюз, инструменталку... пентодный вариант мне показался всеядным к разноплановой музыке, и к року, и к колбасе, и к классике...

 

3.Ы. сетевой транс, блок питания, выходник и лампа использовались в двух вариантах одни и теже, для чистоты эксперимента...

Ссылка на комментарий
Поделиться на другие сайты

lamaka, подскажи пожалста, в схеме есть блок смещения на лампе 6х2п, какое напряжение выходит с транса и на выходе с блока? (синими стрелками) ?

И какая схема есть триодное и пентодное включение?

Спасибо.

Ссылка на комментарий
Поделиться на другие сайты

Для публикации сообщений создайте учётную запись или авторизуйтесь

Вы должны быть пользователем, чтобы оставить комментарий

Создать учетную запись

Зарегистрируйте новую учётную запись в нашем сообществе. Это очень просто!

Регистрация нового пользователя

Войти

Уже есть аккаунт? Войти в систему.

Войти
  • Последние посетители   0 пользователей онлайн

    • Ни одного зарегистрированного пользователя не просматривает данную страницу

×
×
  • Создать...