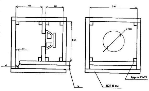
Гость myki525 Опубликовано 18 Октября, 2009 в 08:58 Жалоба Поделиться Опубликовано 18 Октября, 2009 в 08:58 Проблема то в том, что на этом рисунке видно все не очень хорошо, в частности размеры камеры, где стоит сам динамик. То ли 210*65 то ли 210*85 ни как не пойму. Ссылка на комментарий Поделиться на другие сайты Поделиться
drummer Опубликовано 18 Октября, 2009 в 15:44 Жалоба Поделиться Опубликовано 18 Октября, 2009 в 15:44 Вот здесь 20ГДН-1-8 и 20ГДН-2-4, причём обе они 10ГД-30Б... :smile: _https://www.audioworld.ru/FAQ/SPR/sp4.html Ссылка на комментарий Поделиться на другие сайты Поделиться
Гость andigg Опубликовано 22 Октября, 2009 в 05:55 Жалоба Поделиться Опубликовано 22 Октября, 2009 в 05:55 Прошу прощения за непонятливость, :smile: а что такое рамка на чертежах. Ссылка на комментарий Поделиться на другие сайты Поделиться
Гость firstact Опубликовано 22 Октября, 2009 в 06:16 Жалоба Поделиться Опубликовано 22 Октября, 2009 в 06:16 Прошу прощения за непонятливость, :smile: а что такое рамка на чертежах. По видимому рамка из фанеры для обклеики саба для герметичности и выравнивания поверхности,как здесь https://datagor.ru/practice/diy-tech/page,1...-akkustiki.html Ссылка на комментарий Поделиться на другие сайты Поделиться
Гость andigg Опубликовано 22 Октября, 2009 в 06:55 Жалоба Поделиться Опубликовано 22 Октября, 2009 в 06:55 По видимому рамка из фанеры для обклеики саба для герметичности и выравнивания поверхности,как здесь https://datagor.ru/practice/diy-tech/page,1...-akkustiki.html Да, рамка из фанеры, и вставляется кудато внутрь ящика и непонятна её функция. Короче с рамкой, непонятно. Прокаментируйте пожалуйста, кому всё понятно. Ссылка на комментарий Поделиться на другие сайты Поделиться
Гость rubenlukin Опубликовано 22 Октября, 2009 в 09:51 Жалоба Поделиться Опубликовано 22 Октября, 2009 в 09:51 Да, рамка из фанеры, и вставляется кудато внутрь ящика и непонятна её функция. К ней прикручивается крышка отсека головки. Чуть позже нарисую. В статье вроде всё это написано. Меня другое смущает (почему не взялся до сих пор): высота головки больше указанной глубины камеры. Или крышку фрезеровать, или магнит спиливать... :smile: Ссылка на комментарий Поделиться на другие сайты Поделиться
Гость evgen250 Опубликовано 22 Октября, 2009 в 11:08 Жалоба Поделиться Опубликовано 22 Октября, 2009 в 11:08 выложите пожалуста размеры корпуса для тех кто в танке ато в статье непонятки Ссылка на комментарий Поделиться на другие сайты Поделиться
Гость rubenlukin Опубликовано 22 Октября, 2009 в 11:50 Жалоба Поделиться Опубликовано 22 Октября, 2009 в 11:50 выложите пожалуста размеры корпуса для тех кто в танке ато в статье непонятки В статье даны необходимые внутренние габариты, для соблюдения объема камер и размеров щели. То есть внешние размеры будут зависеть от толщины материала. В моих краях, допустим, ДСП водится только 18 мм и 25 мм. Для 18 мм ДСП размеры корпуса (Ш х В х Г) составляют 246 х 278 х 244 мм. Ссылка на комментарий Поделиться на другие сайты Поделиться
Гость andigg Опубликовано 23 Октября, 2009 в 01:25 Жалоба Поделиться Опубликовано 23 Октября, 2009 в 01:25 К ней прикручивается крышка отсека головки. Чуть позже нарисую. В статье вроде всё это написано. Меня другое смущает (почему не взялся до сих пор): высота головки больше указанной глубины камеры. Или крышку фрезеровать, или магнит спиливать... :smile: Автор пишет, что реальный габарит динамика ниже паспортных размеров. И что он вошёл впритык. И люди же повторяли. А у тебя выходит выше. Видимо динамики разных модификаций. Нарисуй пожалуйста. До сих пор не понятно. Видимо в статье мне не всё доступно, я ещё в карантине. Ссылка на комментарий Поделиться на другие сайты Поделиться
meshin Опубликовано 23 Октября, 2009 в 01:36 Жалоба Поделиться Опубликовано 23 Октября, 2009 в 01:36 Кто вообще не даёт поставить динамик с другой стороны панели? Ссылка на комментарий Поделиться на другие сайты Поделиться
Гость mikky Опубликовано 23 Октября, 2009 в 02:02 Жалоба Поделиться Опубликовано 23 Октября, 2009 в 02:02 (изменено) Рамка вклеивается для того чтобы можно было надёжно и герметично закрепить крышку и кроме того такая её вклейка изрядно жёсткости придаёт - это основной принцип моего метода, всё собирается как кубики и каждая деталь держится за другую.У тов.Rubenlukin всё очень точно и доходчиво на рисунке отображено (ну никак не думал что это не понятно будет).По головкам: скорее всего головки разных заводов имеют разные реальные размеры магнитных систем, я просто лично с этим не сталкивался. Изменено 23 Октября, 2009 в 02:08 пользователем mikky Ссылка на комментарий Поделиться на другие сайты Поделиться
Гость mikky Опубликовано 23 Октября, 2009 в 04:36 Жалоба Поделиться Опубликовано 23 Октября, 2009 в 04:36 Проблема то в том, что на этом рисунке видно все не очень хорошо, в частности размеры камеры, где стоит сам динамик. То ли 210*65 то ли 210*85 ни как не пойму. 210*65 - проблема скорее в карантине и недоступности в связи с этим файла, на чертеже мерить ничего не надо, просто наклеил и выпилил,а рисунок этот скорее для наглядности ... Ссылка на комментарий Поделиться на другие сайты Поделиться
Рекомендуемые сообщения
Для публикации сообщений создайте учётную запись или авторизуйтесь
Вы должны быть пользователем, чтобы оставить комментарий
Создать учетную запись
Зарегистрируйте новую учётную запись в нашем сообществе. Это очень просто!
Регистрация нового пользователяВойти
Уже есть аккаунт? Войти в систему.
Войти