Гость weise Опубликовано 3 Июня, 2009 в 21:15 Жалоба Поделиться Опубликовано 3 Июня, 2009 в 21:15 (изменено) У меня вопрос, почему практически не обсуждаются и не изготавливаются любителями усилители на германиевых полупроводниках, а также что является причиной непопулярности германия. Найти хорошие Ге.Транзисторы намного проще чем хорошие лампы, в отличии от ламп транзисторы можно использовать уже б/у. Германиевые усилители имеют намного лучший звук чем обычные, и назад хода практически нет. Если сравнивать два усил. германиевый и кремний то каким бы хорошим не был бы кремниевый усилитель, напрямую германий обладает лучшими качествами во всех отношениях. Это сразу слышно и практически не важно какая схемотехника применена в Ге. усилителе. Возьмите хотя бы старенький DUAL CV 12, этот примитивный аппарат после замены конденсаторов в блоке усиления, но не тембров! легко оставил позади такой Хай Енд Монстр как DNM Amp ручной работы из швейцарии. От Датагора: в эту тему складываем схемы, архивы, и т.п., как в копилку. А кто наново будет повторять что-то - тому создавать ОТДЕЛЬНУЮ НОВУЮ тему. Изменено 18 Мая, 2011 в 09:22 пользователем weise Ссылка на комментарий Поделиться на другие сайты Поделиться
Datagor Опубликовано 4 Июня, 2009 в 02:28 Жалоба Поделиться Опубликовано 4 Июня, 2009 в 02:28 Проблема чисто технологическая. Германий - редкий и дорогой, кремния - тонны и он дешев. Кремний повсеместно вытеснил германий. Не знаю, как с германием в Германии (вот вам и каламбурчик). У меня в Сибири в продаже германия просто нет. Поэтому и собрать/сравнить не могу. Но читал неоднократно о неком превосходстве германия над кремнием в звуковых трактах. Ссылка на комментарий Поделиться на другие сайты Поделиться
Гость joreek Опубликовано 4 Июня, 2009 в 04:28 Жалоба Поделиться Опубликовано 4 Июня, 2009 в 04:28 Хм... Мысль интересная. Валяется дома маленькая кучка п213-п217 и большая МП39-42 из старой аппаратуры (со звездой :smile:) . Может попробовать что-нибудь сваять. У кого есть предложения по схемам? Ссылка на комментарий Поделиться на другие сайты Поделиться
TANk Опубликовано 4 Июня, 2009 в 04:50 Жалоба Поделиться Опубликовано 4 Июня, 2009 в 04:50 На старом форуме, который по вине хостеров безвозвратно умер :smile: была целая ветка про "Германские" усилители. Я туда выкладывал несколько схем, да и другие жители делились своим опытом. Приду домой, если найду в архиве те схемы, то выложу сюда. Как бы одной из основных концепций создания "Чиста германского" усилителя является такой, что кремния не должно быть совсем. Не только транзисторы, но и выпрямительные диоды должны быть из этого благородного материала. Схем очень много в старых (конец 60-х начало 70-х годов) журналах Радио. Применив современные качественные резисторы, конденсаторы, источники питания с запасом по мощности можно добиться очень хороших результатов в звуке даже на тех самых П217 и МП39. А уж если найдутся в запасах транзисторы еще и ГТ329 и ГТ402-404, П609, ГТ905 1Т813, 1Т806, выпрямительные диоды Д305 - то можно замахнуться на очень серьезный Хай Энд. Ссылка на комментарий Поделиться на другие сайты Поделиться
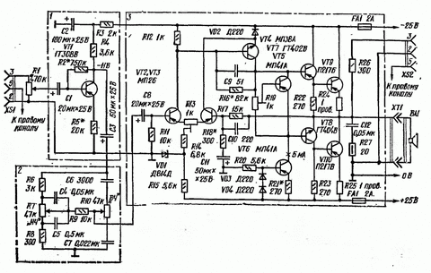
Гость bumbox Опубликовано 4 Июня, 2009 в 08:24 Жалоба Поделиться Опубликовано 4 Июня, 2009 в 08:24 Здесь есть пара схем с описанием, можно попробовать Германий_превыше_всего.doc Вот ещё статейку нашёл, правда качество схемы не очень У_м_с_вых._мощн_40_Вт_на_герм._транзисторах_А.Тарим.doc Ссылка на комментарий Поделиться на другие сайты Поделиться
Гость remonter Опубликовано 4 Июня, 2009 в 09:20 Жалоба Поделиться Опубликовано 4 Июня, 2009 в 09:20 А я и не знал..Всё думал из за старости их не юзают. У меня пару жменей МП-всяких есть и даже Аккорд-стерео(правда подозреваю что он не гуд) для тыловых АС.Может ну их ТДА всякие, наваять германиевый хайфай по кошерным схемам:smile: Ссылка на комментарий Поделиться на другие сайты Поделиться
Гость weise Опубликовано 4 Июня, 2009 в 11:36 Жалоба Поделиться Опубликовано 4 Июня, 2009 в 11:36 Было бы интересно найти побольше информации по этой теме. Тем более что после прослушивания подобной техники у меня нет ни малейшего желания возвращаться к кремнию. Думаю что кремний это тупик, единственное что на нём возможно ещё слушать это усил. с токовой оос, и усилители класса д где параметрические и физические проблемы этого кристалла сильно выводятся из-за пределов слуха. Даже очень хороший класс А на кремнии звучит безжизненно и искуственно по сравнению хорошо сделанным Ге. класс Б, но к сожалению это слышно только при прямом сравнении. Ссылка на комментарий Поделиться на другие сайты Поделиться
Гость weise Опубликовано 4 Июня, 2009 в 12:59 Жалоба Поделиться Опубликовано 4 Июня, 2009 в 12:59 В комнате 28квадратов, моноусилитель на германии 4 ватта + 1 шп ас 94дб чувствительностью, громкость примерно на 11 час. воспринимается как очень громко! Ссылка на комментарий Поделиться на другие сайты Поделиться
Гость asterix_72 Опубликовано 4 Июня, 2009 в 13:04 Жалоба Поделиться Опубликовано 4 Июня, 2009 в 13:04 На старом форуме, который по вине хостеров безвозвратно умер :smile: была целая ветка про "Германские" усилители. Я туда выкладывал несколько схем, да и другие жители делились своим опытом. Приду домой, если найду в архиве те схемы, то выложу сюда. ... можно добиться очень хороших результатов в звуке даже на тех самых П217 и МП39. А уж если найдутся в запасах транзисторы еще и ГТ329 и ГТ402-404, П609, ГТ905 1Т813, 1Т806, выпрямительные диоды Д305 - то можно замахнуться на очень серьезный Хай Энд. У себя в городе, в прайсах нашел эти транзюки, цены не высокие до 50 за транзисторю. Tank угостите пожалуйста вкусной схемой :smile: Ссылка на комментарий Поделиться на другие сайты Поделиться
TANk Опубликовано 4 Июня, 2009 в 13:38 Жалоба Поделиться Опубликовано 4 Июня, 2009 в 13:38 А насчет дороговизны гер.транзисторов у нас ГТ402-404~10-12рэ если не ошибаюсь,мощность не более 2-3Вт,оно вам надо? Мне мало 2*75Вт,а вы тут.ъА если взять первую схему описанную в статейке "Германий превыше всего" на выход поставить не П217, а 1Т813В (50Вт 30А 130v) на раскачку 1Т703 и 1Т705, на входе оставить ГТ402, или лучше что нибудь из более высокочастоного типа П609 поставить. Поддать питания, подстроить режимы под новые транзисторы - то вот и будет те самые 50-70Вт с легкостью, а то и больше. С таких транзисторов получить большую мощность проще чем с ламп. asterix_72, берите на вооружение. Ссылка на комментарий Поделиться на другие сайты Поделиться
Гость roll Опубликовано 4 Июня, 2009 в 15:08 Жалоба Поделиться Опубликовано 4 Июня, 2009 в 15:08 П213-германиевый разве?...Да, германиевый. Вся серия П213-П217 германиевые средней (для сейчас) мощности. Ссылка на комментарий Поделиться на другие сайты Поделиться
Ser.Balashoff Опубликовано 4 Июня, 2009 в 15:52 Жалоба Поделиться Опубликовано 4 Июня, 2009 в 15:52 Хотелось бы внести небольшое замечание для тех, кто ни разу не делал германиевые усилители. Не забудьте про радиаторы для выходных транзисторов. Они должны быть намного больше чем для кремниевых т.к. германиевые транзисторы при не очень большом нагреве превращаются в проводники и становятся не управляемыми. Это значит, что если замкнуть эмиттер и базу вместе транзистор будет проводить при примерно 50-60 градусах. А поскольку в усилителе он продолжает пропускать ток, то нагрев продолжается усиливаясь и усиливаясь пока не наступит... сами знаете что. И все сначала, замена выходных транзисторов, увеличение радиаторов, установка вентиляторов охлаждения... И усилитель приближается по размеру и весу почти до ламповых размеров. Это я для любителей ватт на 70 этак забабахать усилитель. Кто не верит может попробовать даже не собирая усилитель провести эксперимент с германием на паяльнике. Германий очень сильно подвержен температурному влиянию поэтому кремний и победил, ну и потому что его действительно больше, как справедливо было замечено. Ссылка на комментарий Поделиться на другие сайты Поделиться
Рекомендуемые сообщения
Для публикации сообщений создайте учётную запись или авторизуйтесь
Вы должны быть пользователем, чтобы оставить комментарий
Создать учетную запись
Зарегистрируйте новую учётную запись в нашем сообществе. Это очень просто!
Регистрация нового пользователяВойти
Уже есть аккаунт? Войти в систему.
Войти