OrcAD Опубликовано 12 Декабря, 2015 в 15:36 Жалоба Поделиться Опубликовано 12 Декабря, 2015 в 15:36 Q: Алексей, а качестве маломощных Q2 и Q5 сработают КТ315/КТ361? A: По напряжению, току и мощности они подходят как и практически любые другие. 1 Ссылка на комментарий Поделиться на другие сайты Поделиться
Vlad41 Опубликовано 12 Декабря, 2015 в 18:41 Автор Жалоба Поделиться Опубликовано 12 Декабря, 2015 в 18:41 Левая схемка попроще. На какой ток нагрузки она рассчитана? Транзисторы в ней типа КТ814/815? Или ближе КТ502/503? Ссылка на комментарий Поделиться на другие сайты Поделиться
Yamazaki Опубликовано 12 Декабря, 2015 в 20:36 Жалоба Поделиться Опубликовано 12 Декабря, 2015 в 20:36 Стабилизатор напряжения с ограничением тока - типипичный режим для зарядного устройства. Таким образом, смотрите схемы зарядников. Остается только подкрутить напряжение и ток ограничения под ваши нужды. https://datagor.ru/pr...mulyatorov.html например такая. или такая Ссылка на комментарий Поделиться на другие сайты Поделиться
OrcAD Опубликовано 13 Декабря, 2015 в 11:33 Жалоба Поделиться Опубликовано 13 Декабря, 2015 в 11:33 Простая схема и результат моделирования представлены на рис. "Stab-2a-cir.png" и "Stab-2a-sim.png" соответственно. Из рисунков видно что выходное сопротивление этой схемы равно 4 ома (0.4В/0.1мА). Напряжения и рассеиваемая мощность даны на рис. "Stab-2b-cir.png" при токе нагрузки 90 мА. Мощность рассеиваемая на транзисторе равна 1.7 Вт, т.е. 502/503 не подходят. Схема с более низким выходным сопротивлением и результат моделирования представлены на рис. "Stab-3a-cir.png" и "Stab-3a-sim.png" соответственно. Из рисунков видно что выходное сопротивление этой схемы равно 0.33 ома (0.033В/0.1мА). Напряжения и рассеиваемая мощность даны на рис. "Stab-3b-cir.png". Мощность рассеиваемая на регулирующем транзисторе также равна 1.7 Вт. В последней схеме диоды Д1, Д2 можно заменить светодиодом (индикация перегрузки) с перерасчетом R2. Диоды Д4, Д5 можно заменить одним стабилитроном или TL431 с двумя резисторами (возможность подстройки выходного напряжения ). 1 Ссылка на комментарий Поделиться на другие сайты Поделиться
mr.red Опубликовано 13 Декабря, 2015 в 13:01 Жалоба Поделиться Опубликовано 13 Декабря, 2015 в 13:01 ... Журнал: Радио № 4 1981г. раздел ЗА РУБЕЖОМ "регулятор напряжения с ограничителем тока" (указаны аналоги отечественных транзисторов), собирал когда то на транзисторах подходящих "по смыслу", схема работала вполне нормально. ... Собирал в своё время, работало ... Ссылка на комментарий Поделиться на другие сайты Поделиться
Vlad41 Опубликовано 14 Декабря, 2015 в 10:27 Автор Жалоба Поделиться Опубликовано 14 Декабря, 2015 в 10:27 Спасибо всем за советы! Плату подготовил, осталось смонтировать и отладить. Что получится в итоге - расскажу здесь позже. Удачи!!! Ссылка на комментарий Поделиться на другие сайты Поделиться
Datagor Опубликовано 14 Декабря, 2015 в 11:25 Жалоба Поделиться Опубликовано 14 Декабря, 2015 в 11:25 ... Что получится в итоге - расскажу здесь позже. ... А вот ето всенепременно! :biggrin: Ссылка на комментарий Поделиться на другие сайты Поделиться
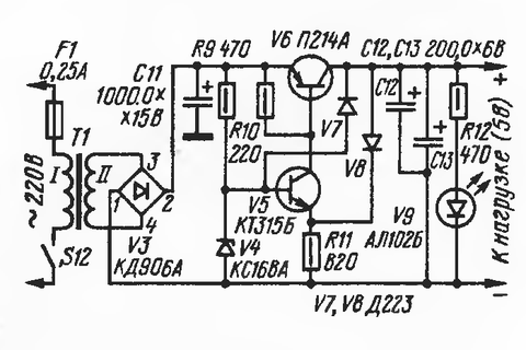
Vlad41 Опубликовано 16 Декабря, 2015 в 04:42 Автор Жалоба Поделиться Опубликовано 16 Декабря, 2015 в 04:42 (изменено) А вот ето всенепременно! :wink: Ага... к сожалению, сейчас на работе конец света года и со временем полный швах. Плату делал ночью :biggrin: Моя работа не связана с электроникой, являющейся хобби, к которому я решил вернуться совсем недавно. :wink: Пока собирал советы (см.выше), проанализировал данные по одной из обмоток (Uвх переменное = 8,4/7,5 В; требуемое Uвых= +5 В; Мах ток нагрузки = 250 мА). Засомневался, хватит ли перепада напряжения для нормальной работы 5-вольтового СН и решил перестраховаться. Подключил к этой обмотке ту же нагрузку, но через выпрямительный мост КЦ405 с конденсатором фильтра 1000 μF. Увы, получил лишь около 7 В выпрямленного U. В итоге для Uвых= 5 вольт решил использовать другую обмотку (Uвх переменное = 12/11,3 В; требуемое Uвых= +9 В +5 В; Мах ток нагрузки = 200 мА 250 мА). Стабилизатор на основе LМ317. Почитал, что советуют люди выше, что пишет журнал "Радио" (о, библия!!!) и сделал то, что нужно. Уже проверил - всё хорошо, но нужно уточнить балластное сопротивление. На плате сразу предусмотрел место для включения в параллель второго резистора на случай более точной подгонки. Для источника 2х12 В намереваюсь использовать схемку с транзисторами, предложенную выше Алексеем (OrcAD). Плата сделана соответствующе, но еще не проверял эту часть блока. По "теоретическим" прикидкам схемка должна работать. Для 9-вольтового СН придется дополнительно задействовать еще один маленький транс. Эту часть еще не делал, но СН также предполагается на LМ317. Отдельная "песня" насчет высвободившейся 7-вольтовой обмотки. Не пропадать же добру. :wink: Вспомнил, что когда-то давно-о-о-о-о-о (я ведь мамонт, оттаявший из 80х...90-х годов прошлого века) макетировал и забраковал простенькую схемку СН с ограничением тока нагрузки. Это был единственный мой опыт по схемам с ограничением тока в нагрузке, о котором я давно забыл. Забраковал я её тогда из-за весьма низкого коэффициента стабилизации, да и вообще схемка нужным образом толком не заработала (видимо "опыту" не хватало). Порылся в библии журнале "Радио" и нашел (см.прикрепленное изображение). Схема хороша тем, что не нужен низковольтный балластный резистор... это "раз"... при перегрузке по току входит в триггерный режим и запирает стабилизатор... это "два"... мощный транзистор применяется из серии П214 с малым падением напряжения... это "три". Вот под нее и сделал часть платы. Если "добью" её - будет дополнительный источник, заменяющий батарейку на 4,5 В. Если не получится, сделаю на том же месте обычный СН без защит, но с плавким предохранителем на выходе для тех же целей. Полный отчет о данном блоке питания с большим количеством выходов думаю написать по его готовности, но уже не здесь, а в теме "Паяльник в шкафу", ибо вся эта хренотень красота предназначается для установки на рабочем столе. Точнее, в рабочем шкафу. А пока - всем спасибо и с наступающим Новым Годом! Изменено 16 Декабря, 2015 в 06:11 пользователем Vlad41 Ссылка на комментарий Поделиться на другие сайты Поделиться
Vlad41 Опубликовано 16 Декабря, 2015 в 06:21 Автор Жалоба Поделиться Опубликовано 16 Декабря, 2015 в 06:21 P.S. Когда-нибудь, на пенсии, сидя в мягком кресле и попивая чаёк из фарфоровой чашки, я смакетирую и испытаю вот такую схемку. Исключительно из любопытства. Ведь у старых транзисторных схем есть "живая душа". В отличие от современных "кирпичиков". :biggrin: Ссылка на комментарий Поделиться на другие сайты Поделиться
OrcAD Опубликовано 16 Декабря, 2015 в 09:18 Жалоба Поделиться Опубликовано 16 Декабря, 2015 в 09:18 Для +5 можно использовать выпрямитель с удвоением. 1 Ссылка на комментарий Поделиться на другие сайты Поделиться
Vlad41 Опубликовано 16 Декабря, 2015 в 09:37 Автор Жалоба Поделиться Опубликовано 16 Декабря, 2015 в 09:37 (изменено) Для +5 можно использовать выпрямитель с удвоением. Можно, но... поздняк метаться уже. Плата-то сделана... наливай! :biggrin: Да и слишком маломощный получится стабилизатор. Изменено 16 Декабря, 2015 в 09:38 пользователем Vlad41 Ссылка на комментарий Поделиться на другие сайты Поделиться
Vlad41 Опубликовано 16 Декабря, 2015 в 10:15 Автор Жалоба Поделиться Опубликовано 16 Декабря, 2015 в 10:15 А вот такую схему кто-нибудь делал? Просто интересно... Ссылка на комментарий Поделиться на другие сайты Поделиться
Рекомендуемые сообщения
Для публикации сообщений создайте учётную запись или авторизуйтесь
Вы должны быть пользователем, чтобы оставить комментарий
Создать учетную запись
Зарегистрируйте новую учётную запись в нашем сообществе. Это очень просто!
Регистрация нового пользователяВойти
Уже есть аккаунт? Войти в систему.
Войти