Datagor Опубликовано 5 Января, 2013 в 06:33 Жалоба Поделиться Опубликовано 5 Января, 2013 в 06:33 yamazaki, последнюю главку в статье Эллиота прочитать японская религия не позволяет? Все ответы там разжеваны. Упомянутый вами С1 - это часть цепочки Цобеля на выходе ОУ - опциональная вещь. Естественно, ни о каких 220мкФ речи быть не может. Ну и далее по тексту. Сергей, завязывайте с симуляторами. Млеть от циферок в окошечках, бездумно подставляя номиналы - это не наш метод. Ссылка на комментарий Поделиться на другие сайты Поделиться
metrolog Опубликовано 5 Января, 2013 в 06:41 Жалоба Поделиться Опубликовано 5 Января, 2013 в 06:41 (изменено) Короче, Максим, сделай вот так и не парься. Кабель стандартный, только оплётка должна быть нормальной, а не из 3-х волосинок. Изменено 5 Января, 2013 в 06:49 пользователем metrolog Ссылка на комментарий Поделиться на другие сайты Поделиться
Гость rubenlukin Опубликовано 5 Января, 2013 в 14:10 Жалоба Поделиться Опубликовано 5 Января, 2013 в 14:10 _https://www.google.com.ua/search?q=di+box+schematic&hl=ru&tbo=u&tbm=isch&source=univ&sa=X&ei=OjHoUIb4DITjtQa8jIDoAQ&ved=0CDAQsAQ&biw=1680&bih=935 Ссылка на комментарий Поделиться на другие сайты Поделиться
Гость mr_maximka Опубликовано 5 Января, 2013 в 17:57 Жалоба Поделиться Опубликовано 5 Января, 2013 в 17:57 (изменено) Поскольку презентации - это в основном голос и важна его разборчивость, можно срезать до 100...200 Гц. В презентациях нет голоса, там в основном фоновая музыка, бывает в презентации видео вставляют, поэтому частотку не надо резать... Добавлено после раздумий: Ребят, сдаётся мне, что это всё излишества.Микрофоны тянут длинными кабелями, без намёков на фон, а здесь устроили целые научные изыскания на пустом месте. Просто нужно соблюдать правила сопряжения и экранировки, использовать нормальный экранированный кабель и все будет зэбэст. Тем более сигнал передаётся с большой амплитудой и с выхода усилителя. провод у меня хороший Изменено 5 Января, 2013 в 18:14 пользователем mr_maximka Ссылка на комментарий Поделиться на другие сайты Поделиться
Chugunov Опубликовано 5 Января, 2013 в 18:25 Жалоба Поделиться Опубликовано 5 Января, 2013 в 18:25 Можно попробовать трансформаторный вариант. Достоинство - отсутствие усилителей, а значит и питания. Полная развязка и симметрия. Попробуйте, а претензии уже потом. Я сталкивался с тем, что регистратор телефонных записей на компьютере прекрасно работал от микрофона, но не работал из-за помех с телефонной сетью. Применение трансформатора решило проблему. Ссылка на комментарий Поделиться на другие сайты Поделиться
Гость mr_maximka Опубликовано 5 Января, 2013 в 18:42 Жалоба Поделиться Опубликовано 5 Января, 2013 в 18:42 а какой трансформатор? Ссылка на комментарий Поделиться на другие сайты Поделиться
Chugunov Опубликовано 5 Января, 2013 в 19:59 Жалоба Поделиться Опубликовано 5 Января, 2013 в 19:59 а какой трансформатор? Проще взять, конечно, готовый. Или от модема, или от дискового телефонного аппарата, или согласующий от транзисторного приёмника. Больше габариты трансформатора - шире диапазон в область НЧ. Коэффициент трансформации от одной до нескольких единиц, включать лучше, как понижающий трансформатор. Железо IMHO может иметь небольшое сечение Ш10...Ш12. Можно попробовать от трансляционного приёмника, если удастся найти. Ссылка на комментарий Поделиться на другие сайты Поделиться
Гость mr_maximka Опубликовано 6 Января, 2013 в 15:41 Жалоба Поделиться Опубликовано 6 Января, 2013 в 15:41 всем спасибо за помощь!!! вы очень помогли... Ссылка на комментарий Поделиться на другие сайты Поделиться
metrolog Опубликовано 6 Января, 2013 в 15:47 Жалоба Поделиться Опубликовано 6 Января, 2013 в 15:47 Как была решена проблема? Ссылка на комментарий Поделиться на другие сайты Поделиться
Гость mr_maximka Опубликовано 7 Января, 2013 в 08:15 Жалоба Поделиться Опубликовано 7 Января, 2013 в 08:15 Пока не решил, но идей накидали кучу..... Ссылка на комментарий Поделиться на другие сайты Поделиться
metrolog Опубликовано 7 Января, 2013 в 09:07 Жалоба Поделиться Опубликовано 7 Января, 2013 в 09:07 ...идей накидали кучу..... Начинай с моей, как с самой простой. Другие реализовывать, думаю, не придется. Ссылка на комментарий Поделиться на другие сайты Поделиться
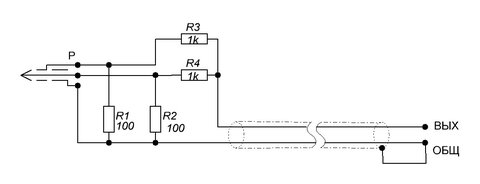
Гость bobrizz Опубликовано 25 Апреля, 2013 в 17:44 Жалоба Поделиться Опубликовано 25 Апреля, 2013 в 17:44 Добрый вечер, нужен совет. Есть ноутбук с которого транслируют презентации, иногда презентации бывают со звуком. Проблема в том что ноутбук фонит, находится далеко от микшера. На просторах интернета нарыл такую схему: рабочая ли она? и поможет она мне? Привет, Максим! Может я уже опоздал. но хочу дать тебе еще один совет из всех сказанных здесь на форуме. Очень давно у меня тоже ,,фонил,, ноутбук, когда я подключал его к питающей трех контактной розетке. Теперь я подключаю его через обыкновенную розетку. Фон исчез. Это называется "земляная петля". По правилам электробезопасности, я не имею права отключать от прибора заземление (но ноутбук пластмассовый), и это единственное решение данной проблемы, во всяком случае, я работаю так уже 10 лет. И мультикоры у меня длинной до 50 метров до пульта, и никаких буферных усилителей я не использую без надобности. Попробуй этот вариант. Удачи. Ссылка на комментарий Поделиться на другие сайты Поделиться
Рекомендуемые сообщения
Для публикации сообщений создайте учётную запись или авторизуйтесь
Вы должны быть пользователем, чтобы оставить комментарий
Создать учетную запись
Зарегистрируйте новую учётную запись в нашем сообществе. Это очень просто!
Регистрация нового пользователяВойти
Уже есть аккаунт? Войти в систему.
Войти