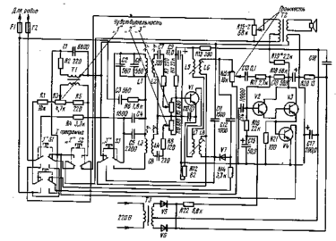
coooler Опубликовано 15 Июня, 2016 в 10:32 Жалоба Поделиться Опубликовано 15 Июня, 2016 в 10:32 Собственно отдали 10 этих приемников на запчасти. Интересует возможность использования выходного трансформатора (ЯЗ ТВ-2) в небольших околокомпьютерных поделках. Ну и других деталек тоже. Ссылка на комментарий Поделиться на другие сайты Поделиться
Datagor Опубликовано 16 Июня, 2016 в 04:58 Жалоба Поделиться Опубликовано 16 Июня, 2016 в 04:58 В работу я бы пустил динамики, корпуса (при хорошей сохранности), трансформатор питания Т3 (померьте наряжение на вторичке), резисторы, радиаторы, транзисторы, диоды. А вот конденсаторы электролитические, страшные разъёмы и кнопки П2К я бы сразу в мусор спустил. ... использования выходного трансформатора (ЯЗ ТВ-2) ... Это спец трансформатор для транзисторного усилителя этой топологии.Если вы метили на ламповое, то никак. А неламповое лучше собрать без всяких выходных трансформаторов. Ссылка на комментарий Поделиться на другие сайты Поделиться
Nevod Опубликовано 16 Июня, 2016 в 07:42 Жалоба Поделиться Опубликовано 16 Июня, 2016 в 07:42 ... Это спец трансформатор для транзисторного усилителя этой топологии ... Не только. Та обмотка, что подключена к потенциометру на 68 кОм, рассчитана на работу от трансляционной линии с переменным напряжением 30 В. Так что можно, наверное, в ламповых однотактах использовать, если сердечник с зазором пересобрать . Выходная мощность их, думаю, не больше одного ватта. И диапазон частот "снизу" узковат. А динамики 2ГД40 очень хороши в качестве СЧ или СЧ-ВЧ! Можно и как ШП. У меня они как ШП в околокомпьютерных лабиринтах работают. Басом, конечно, грудь не мнут, но все басовые инструменты вполне реалистично воспроизводят. При этом при двух ваттах на канал с расстояния 1 метр долго не вытерпеть: ну очень громко! Ссылка на комментарий Поделиться на другие сайты Поделиться
Ubiks Опубликовано 16 Июня, 2016 в 10:21 Жалоба Поделиться Опубликовано 16 Июня, 2016 в 10:21 Можно трансформаторы переделать в дросселя и применить в ламповой технике. Ссылка на комментарий Поделиться на другие сайты Поделиться
coooler Опубликовано 16 Июня, 2016 в 10:26 Автор Жалоба Поделиться Опубликовано 16 Июня, 2016 в 10:26 Там еще есть Тр1 - ТСС-II-1, вроде как согласующий. Я понял - надо все снимать, мерить и потом уже морщить ум :smile: Ссылка на комментарий Поделиться на другие сайты Поделиться
Nevod Опубликовано 16 Июня, 2016 в 12:46 Жалоба Поделиться Опубликовано 16 Июня, 2016 в 12:46 (изменено) Можно использовать динамики прямо в родных корпусах как околокомпьютерные колонки - супер-пупер-ретро-винтаж! Звук будет сильно лучше, чем у пластиковых "пукалок". Изменено 16 Июня, 2016 в 13:27 пользователем nevod Ссылка на комментарий Поделиться на другие сайты Поделиться
Рекомендуемые сообщения
Для публикации сообщений создайте учётную запись или авторизуйтесь
Вы должны быть пользователем, чтобы оставить комментарий
Создать учетную запись
Зарегистрируйте новую учётную запись в нашем сообществе. Это очень просто!
Регистрация нового пользователяВойти
Уже есть аккаунт? Войти в систему.
Войти