verbnn Опубликовано 5 Марта, 2015 в 09:30 Жалоба Поделиться Опубликовано 5 Марта, 2015 в 09:30 Кто нибуть встречал расчет с отдельной обмоткой для включения экранных сеток в УЛ от отдельного источника питания . Втретил только одну схему , там процентпое отношение 33.3% при анодном 540В а экранных 260В. Ссылка на комментарий Поделиться на другие сайты Поделиться
Гость kdtp Опубликовано 5 Марта, 2015 в 10:21 Жалоба Поделиться Опубликовано 5 Марта, 2015 в 10:21 (изменено) С приведёнными данными (Анод 540 Вольт, Экран 260 Вольт, УЛ отвод 33,3 %) , при питании экранных сеток полным анодным напряжением (540 Вольт), отвод УЛ будет соответствовать 16%!!! Такой ответ устроит!? Изменено 5 Марта, 2015 в 10:39 пользователем kdtp Ссылка на комментарий Поделиться на другие сайты Поделиться
verbnn Опубликовано 5 Марта, 2015 в 10:41 Автор Жалоба Поделиться Опубликовано 5 Марта, 2015 в 10:41 (изменено) В том-то и дело что напряжение экранки лимитировано допустим ГУ50 ГУ29 и.т.д . Да и хотелось бы расчет посчупать :smile: Изменено 5 Марта, 2015 в 10:43 пользователем verbnn Ссылка на комментарий Поделиться на другие сайты Поделиться
Гость kdtp Опубликовано 5 Марта, 2015 в 10:54 Жалоба Поделиться Опубликовано 5 Марта, 2015 в 10:54 Например, процентное соотношение витков первичной, анодной обмотки и витков УЛ обмотки составит 16%. Тогда, при питании экранных сеток полным анодным напряжением …, так и будет УЛ - 16%. Если питание экранных сеток осуществляется меньшим напряжением (отдельная УЛ обмотка), то связь по УЛ будет настолько БОЛЬШЕ, насколько МЕНЬШЕ напряжения питания экранных сеток относительно анодов. В нашем, конкретном случае Анод 540 Вольт, Экран 260 Вольт, значит на Экране напряжение в 2,078 раза меньше чем на Аноде. Следовательно, величина УЛ, при таком питании увеличится в эти самые 2,078 раза. То есть, составит 16% х 2,078 = 33,3% Ссылка на комментарий Поделиться на другие сайты Поделиться
verbnn Опубликовано 5 Марта, 2015 в 11:15 Автор Жалоба Поделиться Опубликовано 5 Марта, 2015 в 11:15 Виктор, спасибо. Ссылка на комментарий Поделиться на другие сайты Поделиться
Гость avals Опубликовано 6 Марта, 2015 в 09:02 Жалоба Поделиться Опубликовано 6 Марта, 2015 в 09:02 Если питание экранных сеток осуществляется меньшим напряжением (отдельная УЛ обмотка), то связь по УЛ будет настолько БОЛЬШЕ, насколько МЕНЬШЕ напряжения питания экранных сеток относительно анодов. Откуда вы такое взяли? %% УЛ включения - это отношение переменных составляющих выходного сигнала на экранной сетке и аноде, безотносительно к их режимам по постоянному току. Иначе, для получения, например, 43% УЛ связи обмотка экранной сетки должна иметь именно 43% витков относительно анодной, не зависимо, является ли она отдельной или частью анодной. Подробнее - US Patent 2710312 от 1952 года. ULTRA-LINEAR OPERATION, also known as DISTRIBUTED LOAD OPERATION, is a term when applied to single-ended or push-pull vacuum tube audio amplifiers, that describes the particular output stage configuration whereby the Screen Grids (Grid 2) of Tetrodes, Pentodes or Beam Power Tubes are fed from a tapping in the output transformer (single-ended) or each half of the primary of the output transformer (push-pull) - typically 43% turns or 18.5% impedance when measured from the centre-tap, instead of from a DC supply either independent of, or common to, the anodes. Простите за мой английский... Расчет отдельной УЛ обмотки для включения экранных сеток в УЛ от отдельного источника питания ничем не отличается от обычного. А вот намотка трансформатора существенно усложняется, что и определяет малую популярность таких схем. Ссылка на комментарий Поделиться на другие сайты Поделиться
Гость kdtp Опубликовано 6 Марта, 2015 в 21:49 Жалоба Поделиться Опубликовано 6 Марта, 2015 в 21:49 (изменено) Для Вячеслава! То, что УЛ это обратная связь, для меня не секрет. Если у нас есть отдельная обмотка для УЛ, то, в зависимости от постоянного напряжения на этой обмотке (как ни странно для Вас это покажется), будет меняться соотношение связи (по переменному току, разумеется) между анодом и экранной сеткой. Если анодное напряжение и напряжение питания экранных сеток равны, то это соотношение будет иметь прямо пропорциональную зависимость (значение) от соотношения витков анодной и экранной (УЛ) обмоток. Ну, а если, в силу ряда обстоятельств, эти напряжения не равны? Например, выходной каскад на лампах ГУ-50. По-хорошему, для мощного выходного каскада РР усилителя на этих лампах (ГУ-50), подойдут следующие режимы «питания»: Анод; 600 – 700 Вольт, Экранная сетка; 150 - 250 Вольт. К примеру, нам захочется применить УЛ включение. Хорошо! В таком случае, нам придётся намотать ОТДЕЛЬНУЮ обмотку (не связанную с другими обмотками) на выходном трансформаторе для экранных сеток. Вот тут то и возникает вопрос: «…. а, с каким процентным соотношением (по виткам) между экранной и анодной обмотками выходного трансфоматора?….» Для начала вспомним, что ГУ-50, это мощный выходной пентод. Для таких ламп (отнесём сюда и лампу EL34), УЛ обмотка должна составлять от 15% до 25% от анодной обмотки. Небольшое лирическое отступление, если на выходе будут мощные лучевые тетроды, то эти соотношения должны лежать в пределах (желательно), от 33% до 43% . Так, вернёмся к ГУ-50. Предположим, что у нас будут следующие «режимы по питанию»; Анод – 700 Вольт, Экранные сетки – 250 Вольт, и…, мы хотим получить УЛ - 25%. В таком случае, при намотке выходного трансформатора, процентное соотношение по виткам, между анодной и ОТДЕЛЬНОЙ экранной обмоткой, составят…. Немного арифметики, 700 Вольт : 250 Вольт = 2,8. Далее 25% : 2,8 = 8,9 %. Можно принять 9%. Таким образом, для получения УЛ 25% в РР усилителе на лампах ГУ-50, при анодном напряжении 700 Вольт, и напряжении на экранных сетках 250 Вольт, ОТДЕЛЬНЫЕ экранные обмотки составят по 9% от анодных обмоток (по виткам) . Например, при расчете получилось, что первичная (анодная) обмотка должна содержать 3000 Витков. Следовательно, на каждую лампу будет «приходиться» по 1500 Витков. 9% от 1500 Витков, составят…, 135 Витков. Таким образом, нам надо намотать, дополнительно, для отдельной УЛ обмотки, «два раза» по 135 Витков! Или…, всего-то, 270 Витков (135 + 135). В результате этих телодвижений получим УЛ 25% (по переменному току, разумеется!) для РР усилителя на ГУ-50, при анодном питании 700 Вольт, и питании экранных сеток 250 Вольт. Вот, собственно, и всё. Вне зависимости от Вашего знания иностранных языков, эта «штука» работает именно, так, как мною было изложено. Кстати – проверено на практике, и… неоднократно. Хотите теоретических обоснований? Ну, уж нет! Думаю, вы должны сами в этом разобраться! Или…, можете проверить ЭТО практически. Соберите усилитель (макет) с применением вышеизложенного «материала» и проверьте…. Уверяю – результат Вас приятно удивит. Изменено 8 Марта, 2015 в 04:55 пользователем kdtp Ссылка на комментарий Поделиться на другие сайты Поделиться
Гость avals Опубликовано 6 Марта, 2015 в 23:40 Жалоба Поделиться Опубликовано 6 Марта, 2015 в 23:40 Виктор! Давайте разберёмся "на пальцах" Итак, стандартная УЛ схема - мотаю трансформатор - отвод на экран от некого %% анодной обмотки трансформатора - или автотрансформаторное включение. Далее, представим, начинаю мотать в два провода. Дохожу до %% витков, делаю вывод, далее мотаю одним проводом. Начала на Еа, первый отвод на экран, второй на анод. Что произошло? Физически, мы заменили автотрансформаторное включение трансформаторным, с тем же самым К тр. Что-то изменилось в работе лампы? Нет. Но теперь мне никто не мешает подключить экранную обмотку не к анодному питанию, а к любому другому. При этом коэффициент ультралинейной связи будет определяться именно соотношением витков обмоток, а вовсе не постоянными напряжениями на них. Но! Так ли можно пренебрегать ними? Напряжениями? Не будем забывать, что экран - не более чем управляющая сетка, имеющая свою крутизну, напряжение запирания и прочие прелести. Если взять пресловутые 30 - 43%%, то, при анодном напряжении в 700 Вольт, амплитуда напряжения на G2 достигнет 185 - 270 Вольт при постоянном напряжении на ней в 250 Вольт. Не сложно догадаться, что при 65 Вольтах на второй сетке лампа будет, скорее всего, закрыта, а при -20 и подавно! Таким образом, придётся уменьшить сигнал ОС на второй сетке до разумных пределов, чтобы сохранить линейность управления по G2. Т.е., %% УЛ связи. Для каждой лампы существует свой оптимальный коэффициент, это не секрет. И чисто умозрительно переносить какие то %% с 6П14П, 6П6С на Г-807 или ту же ГУ-50 безыдейно. И, уж, тем более безыдейно пользоваться псевдоматематикой - 700 Вольт : 250 Вольт = 2,8. Далее 25% : 2,8 = 8,9 % Как прикажете Вас понимать? Допустим, я стабилизирую вторую сетку. Анодное, при этом, "плавает" от выходной мощности или напряжения сети. Так что, по Вашему, и %% УЛ связи тоже меняются? В зависимости от уровня сигнала? Типовая УЛ схема предполагает использование ламп с допустимым напряжением G2 равным анодному. Именно поэтому, чисто конструктивно, удобно делать автотрансформаторное включения второй сетки. В случае генераторных ламп условие равенства напряжений питания нарушается и мы вынуждены использовать трансформаторное включение. Что абсолютно не меняет физики явления. Самая большая неприятность - перестаёт "работать" всем известная картинка, показывающая изменение свойств каскада от %% включения экранной сетки. Просто потому, что даже из ГУ-50 сложно получить "триод" при напряжении в 700 - 1000 Вольт. Хотя, при 550, мне удавалось. И однотакт и двухтакт. Стало быть и привычную Вам ультралинейку можно построить. :smile: Вне зависимости от Вашего знания иностранных языков, эта «штука» работает именно, так, как мною было изложено.Извините за мои знания, чем богаты...Не хотите разбираться с патентом США на ультралинейный усилитель, давайте почитаем Цыкина. Заметьте - автор учебника для ВУЗов, описывая УЛ усилитель, оперирует понятиями "отводы от определённого числа витков первичной обмотки". Т.е. %% связи или коэффициент трансформации. А уж трансформатор там или автотрансформатор - разницы нет. Уверяю – результат Вас приятно удивит. Вы бы меня, лучше, приятно удивили строгим обоснованием Ваших выводов. Буду благодарен, если вместо упрощенных дробей (700 Вольт : 250 Вольт) Вы предложите надёжный независимый источник, подтверждающий, что эта «штука» работает именно, так, как мною было изложено. На любом языке, я не привередлив. Только, чур - доступный и официальный (учебник, монография, патент и т.п.) P.S. Забавный факт. В кните Отрицательная обратная связь и её применение, Г.С.Цыкин, 1940, никаких упоминаний об УЛ включении нет. А, ведь, решение запатентовано в 37 - 38 годах, по разным данным. Но в 1965, у того же автора - пожалуйста! :smile: Ссылка на комментарий Поделиться на другие сайты Поделиться
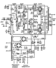
Гость kdtp Опубликовано 7 Марта, 2015 в 12:06 Жалоба Поделиться Опубликовано 7 Марта, 2015 в 12:06 Вот схема «промышленного» усилителя, который выпускался малой серией, в советское время, на Рижской фабрике музыкальных инструментов. Его максимальная выходная мощность 100 Ватт. На мощности 80 Ватт, этот усилитель выдавал вполне приличные «показатели» - на частоте 1000 Гц, Кни был в районе; 0,5 – 0,7 %. Диапазон частот: 20Гц – 50000 Гц, при неравномерности +/- 3Дб. Очень даже не плохо для такой «балалайки». Но, не в этом суть. Посмотрим на выходной трансформатор от этого усилителя и его моточные данные. Обратите внимание (я обращаюсь нестолько к Вячеславу, сколько к другим читателям этого форума) на соотношение витков анодной обмотки и…, витков обмотки для экранных сеток. Это соотношение (по виткам) лежит в пределах 16,666…%. Что интересно, фактически (по переменному току), величина связи по УЛ в этом усилителе - 33,3…%. И с чего это вдруг так? А факты? Ладно, «отмотаем» немного назад…. В далёком 1974 году, в одном НИИ, группа молодых энтузиастов, поставила этот усилитель на испытательный стенд. Кроме всего прочего, выяснилось, что величина УЛ (по переменному току, разумеется) находиться в пределах 30% - 33%. Погрешность этого результата, вероятно была связана с точностью измерений и вычислений. Ну, ладно…, приняли что величина УЛ - 33%. НО…, тут вдруг выяснилось (заглянули в паспорт усилителя), что величина соотношения витков между анодной обмоткой и обмоткой для экранных сеток – 16,666….%!!! Странно? Хотели было «потрошить» выходной трансформатор. Потом успокоились, немного порассуждали и…, вспомнили, что УЛ включение, по сути, это местная ООС…. А, сопоставив этот факт с режимами работы выходных ламп…, всё у них встало на свои места…. Думаю, что и Вячеслав давно во всём разобрался и прекрасно понял физику процесса этого «феномена»…. Ссылка на комментарий Поделиться на другие сайты Поделиться
Гость avals Опубликовано 7 Марта, 2015 в 20:34 Жалоба Поделиться Опубликовано 7 Марта, 2015 в 20:34 Думаю, что и Вячеслав давно во всём разобрался и прекрасно понял физику процесса этого «феномена»…. Зря думаете. Я ведь не от хорошей жизни просил источников с описанием физики процесса этого «феномена». Мы говорим об ООС по переменному току, основной параметр которой - величина коэффициента передачи цепи обратной связи β. В нашем случае это отношение витков экранной обмотки к виткам анодной. Не зависимо от способа включения последней - трансформаторный или автотрансформаторный. До этого момента мне всё понятно. Далее, Вы говорите, что изменив напряжения питания экранной сетки (постоянное!!!!) я меняю величину β по переменному току! Всё! Тупик! Я не понимаю, откуда это следует. И не стыжусь в этом признаться. В известных мне публикациях даже намёка на нечто подобное не встречал. А на освоение теоретических основ я потратил немало времени в студенчестве, "поднимая" и конспектируя литературу по ламповой тематике начиная, примерно, со средины 30-х. Благо фонды Харьковской Государственной Научно Технической библиотеки им. Короленко это позволяют. Поэтому, прошу ещё раз - подскажите, где именно можно прочесть об этом «феномене». Крайне желательно с формулами и графиками. Меня это убеждает много больше, чем ваш рассказ про молодых учёных неназванного НИИ. :smile: Помогите разобраться! Усилитель, приведенный Вами в качестве примера, мне хорошо знаком по описанию в Радио 1972 № 10. На всякий случай перечитал статью - никаких намёков на «феномен». Ссылка на комментарий Поделиться на другие сайты Поделиться
Ubiks Опубликовано 7 Марта, 2015 в 22:56 Жалоба Поделиться Опубликовано 7 Марта, 2015 в 22:56 Вот схема «промышленного» усилителя, который выпускался малой серией, в советское время, на Рижской фабрике музыкальных инструментов и у этого усилителя есть такая кака (лично у меня не однократно) если на максимому то оконечные лампы "умирают" (6Р3С), а тогда нужно несколько комплектов под рукой держать. Переделывали на ГУ-50, более стойкие. Ссылка на комментарий Поделиться на другие сайты Поделиться
Гость avals Опубликовано 8 Марта, 2015 в 12:46 Жалоба Поделиться Опубликовано 8 Марта, 2015 в 12:46 и у этого усилителя есть такая кака... Это кака не усилителя, это врождённое свойство 6Р3С. В своё время, в Харьковском оперном, их меняли чуть ли не ящиками в стойках 50У-97 "Зал". А там, в отличие от Рижской реинкарнации, их стояло аж 3 в параллель в каждом 100 Ваттном усилителе. Ссылка на комментарий Поделиться на другие сайты Поделиться
Рекомендуемые сообщения
Для публикации сообщений создайте учётную запись или авторизуйтесь
Вы должны быть пользователем, чтобы оставить комментарий
Создать учетную запись
Зарегистрируйте новую учётную запись в нашем сообществе. Это очень просто!
Регистрация нового пользователяВойти
Уже есть аккаунт? Войти в систему.
Войти