Гость primaangel Опубликовано 3 Марта, 2015 в 09:16 Жалоба Поделиться Опубликовано 3 Марта, 2015 в 09:16 Собсно взялся я собрать себе маленький камин в виде "Хираги". Но тут встал вопрос сразу же в блоке питания. Как то вот сильно напрягли номиналы кондеров в 0,22F это ж получается миниэлектростанция! :smile: Вот в них проблема то и встала! Купить такие просто на радиорынке или в магазине заказать не получилось, а ставить батарею из 0,022F не хочется(в сумме 60 банок) это ОООоочень накладно по сравнению с остальными компонентами в 10 раз дороже!!!! :smile: Чем эту батарею можно заменить? Ссылка на комментарий Поделиться на другие сайты Поделиться
stslam Опубликовано 3 Марта, 2015 в 09:54 Жалоба Поделиться Опубликовано 3 Марта, 2015 в 09:54 (изменено) Там опечатка, мне кажется. Электролиты на 220 микрофарад берите. Для двухтактника 220000 по три на плечо - это чересчур, да и 50 амперный мост может не выдержать (зависит от кондеров, но, в идеале (50В, 1 мс, 1 Ом) >100 ампер (50+50+после резисторов)). Впрочем, раз изделие штучное, можете пересчитать и забабахать параллельный T фильтр Radiotron Designers Handbook (4th Edition) www.ax84.com/rdh4/ В 31й главе, - параллельный T-фильтр разжеван: www.ax84.com/static/rdh4/chapte31.pdf Изменено 3 Марта, 2015 в 10:00 пользователем stslam Ссылка на комментарий Поделиться на другие сайты Поделиться
Chugunov Опубликовано 3 Марта, 2015 в 11:40 Жалоба Поделиться Опубликовано 3 Марта, 2015 в 11:40 Там опечатка, мне кажется. Электролиты на 220 микрофарад берите. Не опечатка. В подобном (его же) усилителе на 8 Вт он пишет (перевод Гугля) Я выбрал для полностью регулируемой подачи с в общей сложности 127,0000 мкФ емкости на канал и 500 ВА тороидального трансформатора... Реально по схеме на входе по 30000 мкФ и дохленький стабилизатор (ограничивающий ток и делающий бессмыслицей огромную ёмкость!!!) как якобы "умножитель ёмкости". Так что, по аналогии для 25 Вт тор должен быть на 1500 Вт. :smile: *** Я сделал усилитель Нельсона Пасса F5. При той же мощности я поставил два трансформатора по 250 Вт (а можно было и вдвое меньше). Ёмкости у меня всего лишь по 40000+40000 на канал. Скромно, но хватает. Зачем нужны фарады? Для крутизны, да видно, потому, что были под рукой. Если бы было место, он бы мог и по десятку фарад засунуть - хуже ведь не будет. Кроме того, я перестраховщик и поэтому придумал узел мягкого включения, чтобы ток зарядки при включении был не более 6 А. Ссылка на комментарий Поделиться на другие сайты Поделиться
Гость avals Опубликовано 3 Марта, 2015 в 19:55 Жалоба Поделиться Опубликовано 3 Марта, 2015 в 19:55 Как то вот сильно напрягли номиналы кондеров в 0,22F Помните - не верь, не бойся, не проси. Давайте и мы не будем верить, а посчитаем. Первое My version of the Jean Hiraga Super Class-A Amplifier is running at a bias of about 1.65A @ 35V Второе The amplifier can deliver 58W at full power. Это исходные данные для расчёта потребления. 58W на 8 Ом дают 3,8 А пика или 1,2 А среднего тока на канал. Это меньше, чем ток покоя. Его и используем для расчёта выпрямителя. Итак 2 х 37 Вольт 3,3 А требуют трансформатора 270 Ватт с обмотками 2 х 32 Вольта, 4А и конденсаторов фильтра в 10000 мкФ на плечо для пульсаций в 3% Резистор 0,5 Ома и такой же конденсатор ослабят пульсации ещё в 3 раза. Т.е., усилитель будет питаться от источника с пульсациями около 1-го % или -40 дБ, при использовании всего 4-х конденсаторов по 10000 мкФ, 50 Вольт. Отказ от RC фильтра приведёт к повышению пульсаций до 1,5% при 20000 мкФ фильтра, т.е., не желателен. Вот тут мы и добрались до второго правила - не бойся. :smile: Приняв 4 х 10000 мкФ за разумный минимум, дальше можно расти, сообразуясь с финансами, габаритами и феншуем, в конце концов. Ссылка на комментарий Поделиться на другие сайты Поделиться
Гость primaangel Опубликовано 3 Марта, 2015 в 22:21 Жалоба Поделиться Опубликовано 3 Марта, 2015 в 22:21 (изменено) chugunov, avals и stslam спасибо за ответ! Теперь еще вопрос по существу стоит ли собрать блок питания по следующей схеме, при том что все комплектующие есть в наличии и покупать не надо, но проблема в трансе он тоже есть но... вторичка 25-0-25 10А? Или все же лучше перемотать транс и сделать как положено? Изменено 3 Марта, 2015 в 22:25 пользователем primaangel Ссылка на комментарий Поделиться на другие сайты Поделиться
Datagor Опубликовано 4 Марта, 2015 в 03:32 Жалоба Поделиться Опубликовано 4 Марта, 2015 в 03:32 Виталий, насколько мне известно, биполярные транзисторы так не параллелят. Как минимум нужны токовыравнивающие резисторы в эмитерных цепях. Ссылка на комментарий Поделиться на другие сайты Поделиться
Wal Опубликовано 4 Марта, 2015 в 05:25 Жалоба Поделиться Опубликовано 4 Марта, 2015 в 05:25 Да и на роль регулируемых стабилизаторов гораздо больше подходят LM317 и LM337. По цене - те же копейки. Ссылка на комментарий Поделиться на другие сайты Поделиться
Sergiy_83 Опубликовано 4 Марта, 2015 в 05:32 Жалоба Поделиться Опубликовано 4 Марта, 2015 в 05:32 Да и кренки, не так умоЩняют. Ссылка на комментарий Поделиться на другие сайты Поделиться
Гость avals Опубликовано 4 Марта, 2015 в 09:36 Жалоба Поделиться Опубликовано 4 Марта, 2015 в 09:36 chugunov, avals и stslam спасибо за ответ!стоит ли собрать блок питания по следующей схеме А реально нужно стабилизированное питание? Если ориентироваться на стандартный диапазон 198 - 242 Вольта, то потери на стабилизаторах составят от 30 до 90 Ватт. Это означает трансформатор на 360 Ватт, конденсаторы 63 Вольта и следующие немаленькие радиаторы. проблема в трансе он тоже есть но... вторичка 25-0-25 10А? Или все же лучше перемотать транс и сделать как положено? А как положено? Со своим трансформатором Вы получите +/- 29 Вольт и 35 - 37 Ватт максимальной выходной мощности. Хватит? Если да, то, в чём проблема? Разве что, трансформатор немного "великоват". Да! И резисторв 1,1к, что идут на стабилитроны, надо будет заменить на 560 Ом. Всё. Ссылка на комментарий Поделиться на другие сайты Поделиться
Гость avals Опубликовано 4 Марта, 2015 в 10:03 Жалоба Поделиться Опубликовано 4 Марта, 2015 в 10:03 Лучше вместо резисторов 0,5 Ом в БП поставить дросселя. Например, на сердечниках от дросселей или кадровых трансформаторов чёрно-белых телевизоров. 75 витков проводом 1 мм с прокладкой 0,15 дадут омическое сопротивление в 2 раза меньше, а подавление пульсаций в 3,5 раза больше, чем RC фильтр. Ссылка на комментарий Поделиться на другие сайты Поделиться
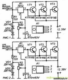
Гость primaangel Опубликовано 4 Марта, 2015 в 10:52 Жалоба Поделиться Опубликовано 4 Марта, 2015 в 10:52 Лучше вместо резисторов 0,5 Ом в БП поставить дросселя. Например, на сердечниках от дросселей или кадровых трансформаторов чёрно-белых телевизоров. 75 витков проводом 1 мм с прокладкой 0,15 дадут омическое сопротивление в 2 раза меньше, а подавление пульсаций в 3,5 раза больше, чем RC фильтр. Спасибо за совет наверное так и сделаю. хотя уже перерисовал схему и в инете похожее нашел. как то так, а в минусовое плечо 337 поставить ну и транзисторы аналогично выбрать. Пол ночи не спалось воротил в EWB разные варианты, в итоге пришел к выводу что лучше сделать 4х10000мкФ + RC фильтр. По поводу дроселей такие сердечники имеются в наличии и намотать не составит труда, благо намоточный материал и лакоткань всегда в запасе есть. Всем спасибо! :smile: Ссылка на комментарий Поделиться на другие сайты Поделиться
Гость avals Опубликовано 4 Марта, 2015 в 11:20 Жалоба Поделиться Опубликовано 4 Марта, 2015 в 11:20 перерисовал схему и в инете похожее нашел. Стабилизатор такого типа имеет большое минимальное падение, порядка 3,5 - 4 Вольта, что сильно уменьшает КПД. Лучше воспользоваться такой схемотехникой Здесь падение может достигать долей вольта. 3 Вольта выигрыша, при Вашем токе - это минус 20 Ватт тепла. Ссылка на комментарий Поделиться на другие сайты Поделиться
Рекомендуемые сообщения
Для публикации сообщений создайте учётную запись или авторизуйтесь
Вы должны быть пользователем, чтобы оставить комментарий
Создать учетную запись
Зарегистрируйте новую учётную запись в нашем сообществе. Это очень просто!
Регистрация нового пользователяВойти
Уже есть аккаунт? Войти в систему.
Войти