Перейти к содержанию

Процессор задержки звука и внешний усилитель


Гость mr_smit

Рекомендуемые сообщения

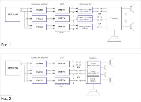
Здравствуйте. Имеется микроконтроллер STM32F205 (корпус 64 пин). У этого контроллера есть аудио шина I2S. Контроллер будет декодировать FLAC, MP3, WAV с внешнего USB или SD носителя. Далее нужно внести необходимую задержку в звук в зависимости от положения пользователя (TPA5050) и подать на ЦАП PCM1794 (или другой). Как лучше осуществить подключение? По схеме на рис. 1 или на рис. 2 ? Это прототип для авто магнитолы. ВЧ звено, СЧ звено и сабвуфер на НЧ.

post-2898-1355223394_thumb.jpg

 

TPA5050 - процессор задержки звука с программируемым временем

PCM1794 - ЦАП

 

+/-

 

Рис. 1 - можно применить качественный ОУ. Более дешевый усилитель (покупной) без фильтров.

Рис. 2 - проще схема, не нужно городить 2-х полярное питание для ОУ, но нужен более дорогой усилитель с фильтрами

 

Примерный усилитель для рис. 2 (5-ти канальный с фильтрами) Kicx QS 5.300 ~8000 руб.

post-2898-1355223863_thumb.jpg

 

И возможно ли организовать RCA выход у ЦАПа?. Всё это сугубо в личных учебных целях. Для автомобиля. Укажите на слабые места.

Изменено пользователем mr_smit
Ссылка на комментарий
Поделиться на другие сайты

Для публикации сообщений создайте учётную запись или авторизуйтесь

Вы должны быть пользователем, чтобы оставить комментарий

Создать учетную запись

Зарегистрируйте новую учётную запись в нашем сообществе. Это очень просто!

Регистрация нового пользователя

Войти

Уже есть аккаунт? Войти в систему.

Войти
  • Последние посетители   0 пользователей онлайн

    • Ни одного зарегистрированного пользователя не просматривает данную страницу
×
×
  • Создать...