Гость ivangrozniy Опубликовано 4 Мая, 2012 в 12:26 Жалоба Поделиться Опубликовано 4 Мая, 2012 в 12:26 Здравствуйте! Наконец то еще один мотоциклист на сайте :smile: . Позвольте и мне вставить свои пять копеек. Я по прошлой работе автоэлектрик и у меня тоже Иж планета только 5я. Так вот когда у меня появилась проблема с перезарядкой я просто напросто поставил реле зарядки от уазика (можно абсолютно любое на 12В.) а сам диодный мост оставил родной, диоды там очень живучие и им обычно ничего не бывает. Если есть желание то и диодный мост можно с автомобильного генератора взять. Плюсы автомобильных реле в том что их можно достать в любом колхозном магазине а переделка заключается в двух проводках. P.S. рекомендую так же сделать электронное зажигание, если интерестно пиши расскажу что да как Ссылка на комментарий Поделиться на другие сайты Поделиться
Гость kresh Опубликовано 4 Мая, 2012 в 13:52 Жалоба Поделиться Опубликовано 4 Мая, 2012 в 13:52 Параллельно собираю уже оптодатчик по второй схеме Умки (с мотоижа) и ФУОЗ Сарумана, ну и программатор до кучи... Так что электронное зажигание будет, только немного позже. Нужно сначала так электрику в норму привести, чтобы в выходные нормальна кататься не боясь выхода из строя какого-нибудь узла. А после сессии будет времени больше вплотную займусь электронным зажиганием. Ну и после лирического отступления вернёмся к главному вопросу, чем можно заменить кд223а? В чём отличие этих трёх схем друг от друга? Ссылка на комментарий Поделиться на другие сайты Поделиться
sstvov Опубликовано 4 Мая, 2012 в 15:36 Жалоба Поделиться Опубликовано 4 Мая, 2012 в 15:36 Вместо кд223А пожалуй подойдут 1N5401, 1N5402, 1N5404, 1N5406, 1N5407, 1N5408. Ссылка на комментарий Поделиться на другие сайты Поделиться
Гость kresh Опубликовано 4 Мая, 2012 в 17:28 Жалоба Поделиться Опубликовано 4 Мая, 2012 в 17:28 sstvov спасибо Ссылка на комментарий Поделиться на другие сайты Поделиться
Гость gosT Опубликовано 11 Мая, 2012 в 19:40 Жалоба Поделиться Опубликовано 11 Мая, 2012 в 19:40 сколько отъездил на мотоциклах - электронный регулятор "от жигулей" считаю лучшим для 12-ти вольтовых. обычно выкидывал родные выпрямители-регуляторы , напаивал 6 кд213 и ставил жигулевский регулятор - работало безотказно. проверено временем . Ссылка на комментарий Поделиться на другие сайты Поделиться
Гость kresh Опубликовано 25 Мая, 2012 в 13:52 Жалоба Поделиться Опубликовано 25 Мая, 2012 в 13:52 gosT, а чем не нравились стандартные БПВ? Как тогда быть с контрольной лампой зажигания? Нет ли перезаряда АКБ? Ссылка на комментарий Поделиться на другие сайты Поделиться
Гость nait74tr Опубликовано 19 Июня, 2012 в 00:07 Жалоба Поделиться Опубликовано 19 Июня, 2012 в 00:07 Параллельно собираю уже оптодатчик по второй схеме Умки (с мотоижа) и ФУОЗ Сарумана, ну и программатор до кучи... Так что электронное зажигание будет, только немного позже. Нужно сначала так электрику в норму привести, чтобы в выходные нормальна кататься не боясь выхода из строя какого-нибудь узла. А после сессии будет времени больше вплотную займусь электронным зажиганием.Ну и после лирического отступления вернёмся к главному вопросу, чем можно заменить кд223а? В чём отличие этих трёх схем друг от друга? просто со временем схему упростили и избавились от лишнего у самого три планетыв начиная с 3 иж 56 и иж49 работают отлично и на родных релюшках еще не разу проблем не было если что оброщайся до старого завода не далеко что бы что то найти Ссылка на комментарий Поделиться на другие сайты Поделиться
Гость tanketka Опубликовано 19 Июня, 2012 в 17:36 Жалоба Поделиться Опубликовано 19 Июня, 2012 в 17:36 Ну по поводу зарядки я делал следующим образом. Так как на ижах место для реле выбрано не самым лучшим образом я перенес все на генератор. Родное реле выкинул . Диодный мост поставил от генератора Днепра или Урала . Постаил таким же образом , как и раньше они стояли на своих генераторах. Реле регулятор стоял от Ваз 2110. Он вместе со щеточным узлом. Вся схема подключения аналогична автомобильной. На все ушло два вечера. Единственное , что понадобилось - это немного напильников, шуруповерт и пару проводов с паяльником . Еще , под крышку генератора была вырезана прокладка из паронита , что бы всякая "кака" не попадала в генератор. За три года эксплуатации не единого сбоя не было. Ссылка на комментарий Поделиться на другие сайты Поделиться
Lakki Опубликовано 20 Июня, 2012 в 16:04 Жалоба Поделиться Опубликовано 20 Июня, 2012 в 16:04 Ну вот и слёт байкеров на датагоре))) Принимайте в ряды тоже байкер)))) Лучше переделать всю электрику, я переделал абсолютно все, электронное зажигание,фуоз, весь свет на релюшках, поставил сигналку, зажигание только с одного пульта, реле зарядки автомобильное и диоды тоже, в двигателе подкова. Из плюсов всегда яркий свет, даже на низких оборотах, стабильное напряжение. Если делать так делать незачем повторять того чего оно не стоит. Ссылка на комментарий Поделиться на другие сайты Поделиться
Гость ivangrozniy Опубликовано 20 Июня, 2012 в 16:41 Жалоба Поделиться Опубликовано 20 Июня, 2012 в 16:41 Поддерживаю lakki, проводку тоже всю перетряхнул, заводская как то не логично сделана местами. Ссылка на комментарий Поделиться на другие сайты Поделиться
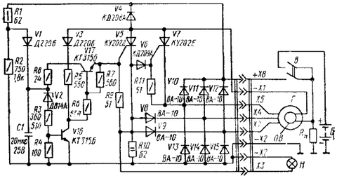
Гость kresh Опубликовано 27 Мая, 2013 в 04:58 Жалоба Поделиться Опубликовано 27 Мая, 2013 в 04:58 Послушал вашего совета. Поставил регулятор напряжения Я112А1 с автомобиля. Сделал так- поставил регулятор к стандартным диодам. Но теперь в борт сети идут очень сильные помехи, тестер просто с ума сходит когда пытаюсь напряжение померить. Но мотоцикл работает как не странно норм. Без АКБ есть хороший свет фары на оборотах выше холостого хода. Со стандартной заведомо рабочей БПВ 14-10 этих помех нет, и напряжение измеряется нормально. Впаивал конденсатор полярный на 22μF, не помогло. Что посоветуете? что может быть источником помех? Мне подсказали, что могут быть пробиты диоды. Могут ли они быть причиной? Автомобильное реле проверяли при покупке в магазине. Оно рабочее, стабилизирует ток на 14.1В. Ссылка на комментарий Поделиться на другие сайты Поделиться
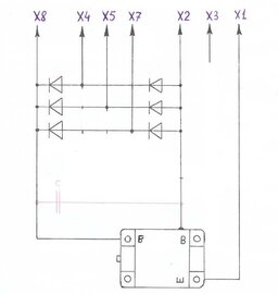
picap Опубликовано 27 Мая, 2013 в 05:27 Жалоба Поделиться Опубликовано 27 Мая, 2013 в 05:27 АКБ к мотоциклу подключена ??? Нарисуй схему как подключал реле-регулятор. Ссылка на комментарий Поделиться на другие сайты Поделиться
Рекомендуемые сообщения
Для публикации сообщений создайте учётную запись или авторизуйтесь
Вы должны быть пользователем, чтобы оставить комментарий
Создать учетную запись
Зарегистрируйте новую учётную запись в нашем сообществе. Это очень просто!
Регистрация нового пользователяВойти
Уже есть аккаунт? Войти в систему.
Войти