Перейти к содержанию

Трансформатор для питания ламповых схем.


Рекомендуемые сообщения

А вариант анодно-накального трансформатора никто не рассматривал?

Хороший трансформатор для ламповых конструкций, я тоже думаю, будет иметь спрос.

Например такой.

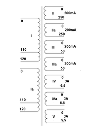
Вход 2 обмотки 110-120в раздельные. Можно коммутировать 220-230-240в на входе.

Выход - 2 обмотки по 250 2 обмотки по 50 (на одинаковый ток=200-250мА) и 2 накальные обмотки на 6.3в с током по 3.5А. И обмотка на 5в с током 3,5А.

Можно тогда будет делать и двухполупериодные выпрямители на каменных диодах, можно мостовой и на кенотроне можно, и получить отрицательное напряжение для фиксированного смещения.

 

ЗЫ! Этот же трансформатор (с таким набором обмоток) можно будет и на выход двухтактному усилителю мощностью ватт до 30-40 на канал поставить. Купил 3 трансформатора и собрал усилитель на них.

 

Добавлено после раздумий:

Вариант исполнения - залитый пропитанный с жесткими лепестковыми выводами. Все таки напряжения под 600в (под киловольт амплитудного) на выходе могут иметь место.

Ссылка на комментарий
Поделиться на другие сайты

Александр,

по ламповому трансу нужно завести отдельную тему.

И уж если это делать, то подойти серьезно: подробное описание параметров, схему обмоток и т.п.

Ссылка на комментарий
Поделиться на другие сайты

Схема трансформатора видится примерно такой

 

post-44-1333437746_thumb.png

 

Коммутаций входных обмоток можно сделать входные напряжения 220-230-240в для более точного подбора под напряжение в сети и подстройки выходных напряжений.

На выходе 2 обмотки по 250в и 2 обмотки по 50в. Используя обмотки по 250в можно делать двухполупериодный выпрямитель на диодах и получить с него порядка 330 вольт. Обмотки можно соединить параллельно и сделать выпрямитель мостовой. От обмоток 50в можно получить напряжение смещения. Можно обмотки 250 и 50в соединить последовательно и получить 2 обмотки по 300в. Для питания высоковольтных усилителей (например гитаристы любят делать усилители с анодным напряжением в районе 450в). Можно применить для выпрямления кенотрон (обмотка накала 5.5в под кенотрон предусмотрена). Тогда на выходе под нагрузкой получим примерно 260-270в (если используем обмотки по 250в) или 320-330в если будем использовать обмотки по 300в.

Ну и для накала 2 обмотки по 3А на напряжение 6.3в.

Такой трансформатор можно сделать тороидальным, или, поскольку набор обмоток симметричный, можно такой трансформатор сделать на ПЛ сердечнике.

 

post-44-1333438599_thumb.jpg

 

Еще одно. Если на ПЛ сердечнике сделать размещение обмоток на каркасе так как на рисунке. (если мотать на торе, то тогда надо будет делать размещение низковольтных обмоток между первичными и высоковольтными вторичными),

 

post-44-1333438997.gif

 

то такой трансформатор можно будет простой коммутацией обмоток превратить в выходной трансформатор для двухтактного усилителя мощностью до 30-40Вт. Причем с довольно широким набором популярных ламп на выходе начиная от простых от 6П14 до довольно мощных 6П3С. EL34, КТ66 и многих других.

 

Какие будут соображения и замечания?

Ссылка на комментарий
Поделиться на другие сайты

Какая должна быть мощность тора?

Какие еще требования к обмоткам и их расположению?

если мотать на торе, то тогда надо будет делать размещение низковольтных обмоток между первичными и высоковольтными вторичными

ой... а можно рисуночек, шоб попонятнее

Ссылка на комментарий
Поделиться на другие сайты

Мощность порядка 200 ватт, а низковольтные обмотки располагать поверх первички, а потом сверху наматывать высоковольтную вторичку. А если мотать на ПЛ железе, то тогда оставить конечно выбор, или использовать как силовой, или после перекоммутации обмоток, использовать как выходной для РР усилителей.

Ссылка на комментарий
Поделиться на другие сайты

..то такой трансформатор можно будет простой коммутацией обмоток превратить в выходной трансформатор для двухтактного усилителя мощностью до 30-40Вт. Причем с довольно широким набором популярных ламп на выходе

И назвать его не универсальный анодно-накальный, а универсальный для ламповых усилителей.

Наверное (ИМХО) лучше всё таки исполнить его на ПЛ железе. Дешевле будет и в изготовлении и для приобретения, и параметры особо не ухудшатся. Обмотку на 5 вольт может ещё одну добавить для полной симметрии, или её (одну) разместить по частям на обеих катушках.

Ссылка на комментарий
Поделиться на другие сайты

да, со средней точкой, еще и накальные так сделать, хотя тут говорят, что каждый отвод больших денег стоит

Ссылка на комментарий
Поделиться на другие сайты

Больших, это у тора будет, там ведь нужно выводить отвод и мотать дальше, а окончательно закреплять все отводы по окончании всей намотки.

А у ПЛ - вывел на лепесток и мотай дальше.

Ссылка на комментарий
Поделиться на другие сайты

Больших, это у тора будет

 

Достался мне тор, 18В 0,83А а мне нужно было 2х13-15в, чтоб после выпрямителя и стабов 2х12в. было, я ужо решился всю вторичку смотать и заново намотать сколько нужно. Только сколупнул изоляцию, :smile: , тут как тут средняя точка, именно скрученные провода упрятанные под изоляцию, промерял тестером - она родная, казалось бы тор на 18в., мотай себе и мотай, ан нет, как-то все это дело к общему знаменателю приводят, и я вывел среднюю точку, в каждую сторону намотал до 13 вольт и получил то что мне нужно. Так что непонятно почему отводы так удорожают готовое изделие если вопрос в паре см. провода.

Ссылка на комментарий
Поделиться на другие сайты

ой... а можно рисуночек, шоб попонятнее

 

Вот такая радуга у меня получилась. Ну не художник я. Но с порядком намотки вроде как должно быть понятно.

Такое размещение делать если только планируется использование в качестве выходного. Если же делать только силовой, то тогда размещение стандартное, его сами мотальщики на заводе сделают. Сначала сетевые обмотки, потом вторичные тонким проводом и сверху вторички толстым проводом.

Желательно просто выяснить насколько дороже станет трансформатор, если размещение обмоток будет таким как у меня нестандартным. Или такую конструкцию вообще откажутся мотать?

 

Какая должна быть мощность тора?

 

Считаем. (250+250+50+50)*0.2+(6.5+6.5+5)*3=120+54=174Вт суммарная мощность вторичных обмоток. Тор на 200Вт общей мощности.

 

post-44-1333479749_thumb.png

Ссылка на комментарий
Поделиться на другие сайты

Для публикации сообщений создайте учётную запись или авторизуйтесь

Вы должны быть пользователем, чтобы оставить комментарий

Создать учетную запись

Зарегистрируйте новую учётную запись в нашем сообществе. Это очень просто!

Регистрация нового пользователя

Войти

Уже есть аккаунт? Войти в систему.

Войти
  • Последние посетители   0 пользователей онлайн

    • Ни одного зарегистрированного пользователя не просматривает данную страницу
×
×
  • Создать...