Перейти к содержанию

Автономный регулятор напряжения


Рекомендуемые сообщения

Здравствуйте, всем.

 

Мне нужно собрать автономный регулятор напряжения DC - далее РН для управления однофазным регулятором напряжения

типа SPC1-50-E Регулятор напряжения однофазный ( 0-220VAC ) управление 4-20mA, 1-5VDC, 1kOhm, 50A, Autonics

 

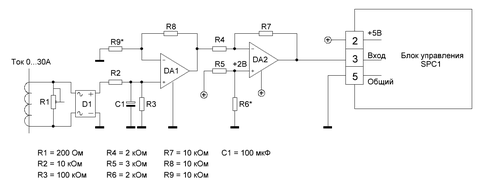
Сигнал на на выпрямитель РН будет поступать с трансформатора (датчика) тока, "висящего" на сетевом проводе 220 вольт, питающем мощный электродный котёл отопления (проточного типа). Регулятор мощности - это готовое купленное изделие выдающее на выходе от 0 до 100% - т.е. 0 - 220 вольт АС посредством управляющего входного сигнала от 1 до 5 вольт DC от РН. Максимальное напряжение 220 вольт на выходе SPC1-50 при управляющем сигнале +5 В. Регулятор симисторный.

 

Необходимость дополнительной регулировки вызвана тем, что в электродном котле резистивным потребителем является сам теплоноситель (жидкость в трубах отопления), а сопротивление теплоносителя зависит от его температуры, по мере нагрева оно падает, ток начинает расти и может превысить максимально допустимый 30А, так как максимальная мощность котла значительно превышает 6600 ватт (30А х 220 вольт). Поэтому если просто выставить на SPC1-50 необходимый ток, то он будет "плавать", в основном - неуправляемо расти, что крайне нежелательно и может привести к перегрузке по фазе. Для оптимального режима работы системы отопления необходимо поддерживать на потребителе (котле) силу тока максимально близко к, но не более 30 А, несмотря на существенные колебания сопротивления нагрузки.

 

При увеличении тока выше 30 А, РН должен плавно уменьшать управляющее напряжение +5 В поступающее на SPC1-50, что ограничит напряжение, а значит и ток нагрузки на выходе SPC1-50 до наступления "равновесия" - постоянного поддержания 30 А на фазе потребителя независимо от его температуры - сопротивления. При снижении тока через потребитель все должно происходить в обратном порядке.

Питаться РН будет от регулятора мощности, который имеет выход №2 - 5 вольт DC (на схеме справа). Управляющий сигнал от 1 до 5 вольт DC будет поступать от РН на вход №3 регулятора мощности. На выходе регулятора мощности будет соответственно напряжение на потребитель от 0 до 220 вольт.

 

Итак, если совсем кратко, то алгоритм работы РН должен быть примерно такой:

1. При токе нагрузки примерно до 30 А, на выходе РН должно быть постоянно 5 вольт DC.

2. При токе нагрузки максимально близкому к 30 А, напряжение на выходе РН должно начать уменьшаться пропорционально падению сопротивления потребителя с ростом температуры, ограничивая ток нагрузки, и не допускать превышения 30А.

 

Прилагаю для обсуждения возможную схему РН.

Как вы считаете, будет ли она работать, какие могут возникнуть проблемы и как их решить?

Может быть кто-нибудь видел заводской вариант данного узла?

 

Что посоветуете в данной ситуации?

 

Заранее всем спасибо!

post-33164-0-22878700-1488316643_thumb.gif

Ссылка на комментарий
Поделиться на другие сайты

... Может быть кто-нибудь видел заводской вариант данного узла? ...
Дима, пример "Заводской вариант":

 

1) Датчик тока - пошлю в личку

 

2) Регулятор задания.

 

из серии "Овен":

"П" ТРМ1

"ПИ" ТРМ10

 

"ПИ" - регулятор предпочтительней.

 

"Агава":

Цифровой задатчик тока АДИ-01.5

 

Или взять чисто аналоговую схему на ОУ от регулятора Р-29 или целиком регулятор. Но это ещё тот "чемодан".

 

3) Исполнительное устройство: пусть будет SPC1-50

 

И получишь почти заводское устройство.

 

Все подробности в личку.

Ссылка на комментарий
Поделиться на другие сайты

Александр, спасибо.

Очень интересные "сундучки" (имею ввиду регулятор серии Р29 и АДИ "Агава"). Как говорится: "красиво и.....не дорого".

Сам тоже искал подобные готовые устройства в нете, но полной автономной регулировки именно по ТОКУ потребителя за разумную цену не нашел . Поэтому остановился на вполне достойном (в т.ч. и по цене SPC1), а узел регулировки для него пробую сделать сам. Надеюсь на советы уважаемых участников форума...

Ссылка на комментарий
Поделиться на другие сайты

Для публикации сообщений создайте учётную запись или авторизуйтесь

Вы должны быть пользователем, чтобы оставить комментарий

Создать учетную запись

Зарегистрируйте новую учётную запись в нашем сообществе. Это очень просто!

Регистрация нового пользователя

Войти

Уже есть аккаунт? Войти в систему.

Войти
  • Последние посетители   0 пользователей онлайн

    • Ни одного зарегистрированного пользователя не просматривает данную страницу
×
×
  • Создать...