Поиск сообщества
Показаны результаты для тегов 'Тюнинг колонок'.
Найдено: 1 результат
- 
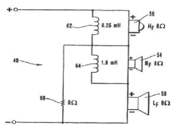
	Не так давно мой коллега по работе купил на распродаже пару колонок. Достоинств у них было два. Неплохой внешний вид и очень демократичная цена. Всего по тысяче рублей за колонку. Но что то ему в звуке не понравилось и пара этих ящиков оказалась у меня на "воспитании". Первым делом подключили их к усилителю Sony lbt a590. Включили музыку и прослезились. Вместо НЧ - хрип, на СЧ скрип. Единственное что порадовало, так это как цыкали высокие. Что ж надо вскрывать пациентов и ставить диагноз. Первая засада поджидала на креплении грилей. Защитные сетки были просто напросто приклеены к передней стенке акустики. Пришлось воспользоваться грубой силой. Китайцы сэкономили на копеечных пластиковых стойках для крепежа и воспользовались "китайскими соплями" - термоклеем. Но на креплении порта ФИ они как оказалось сэкономили и на клее. Когда появилась возможность добраться до динамиков выяснилась и причина хрюканья на низах. Клей был сэкономлен и на крепеже подвеса одного из НЧ динамиков. Откручиваю все динамики чтобы провести более подробный осмотр. По маркировке динамиков удалось выяснить что производятся они фирмой Senon Audio но самом сайте фирмы никаких упоминаний о изделиях с такой маркировкой не оказалось. Ну не беда. Попутно выяснилось, что и НЧ и СЧ динамики находятся в общем объеме и имеют тесную акустическую связь. при подаче большой мощности на НЧ динамик диффузор СЧ тоже вибрирует с заметной амплитудой. Отдельно хочется остановиться на разделительном фильтре для этой АС. Его хорошо видно на этом фото. При проверке СЧ динамиков выяснилось, что диффузоры у них не отцентрированы. Звуковая катушка скребет по магнитной системе. Это и вызывало скрип и шорох при воспроизведении музыки. Вобщем диагноз был поставлен. Цели определены, добро от хозяина "делай что хочешь" получено. Пора приступать к работе. В местном радиомагазине в продаже обнаружились точно такие же СЧ динамики, отличались от оригиналов только серебристым цветом диффузора. Цена 140руб/шт. Поэтому неисправные были отправлены в мусорную корзину, а хозяин поехал покупать новые. Заодно ему было дано задание внимательно осмотреть ближайшие мусорные контейнеры на предмет поиска бумажной трубы ∅ 120мм на которую наматывают линолеум или ковролин. Для чего эта труба расскажу чуть позже. Коллега уехал в магазин и по помойкам, а я занялся НЧ динамиком. Тут ничего сложного. Смазал подвес и корзину клемм Момент и приклеил согласно инструкции на тюбике клея. Этим же клеем вклеил на место порты фазоинверторов. На терминал для подключения к усилителю наклеил двусторонний скотч и тоже вкрутил на место. К этому времени приехали новые СЧ динамики и бумажная труба. Труба нужна была того чтобы изолировать объем СЧ динамиков от объема НЧ. Отрезал два куска этой трубы длинной равной внутренней глубине колонок и поставил их сзади напротив отверстий СЧ динамиков. Вклеивал на силиконовый сантехнический герметик. Пока застывал герметик и сох клей решил заняться разделительными фильтрами. На глаза попалась вот эта простейшая схема. 2 катушки, сопротивление и ни одного конденсатора! Катушки индуктивностью в 0.25 и 1 мГн. Обе катушки намотаны на каркасах с внутренним ∅ 15мм и высотой 20мм. Маленькая катушка содержит примерно 120 витков проводом 1.0мм большая катушка имеет примерно 230 витков. Почему говорю примерно?. Я сначала намотал на маленькую катушку 130 витков, а на большую 250. Потом измеряя индуктивность тестером отматывал по нескольку витков, чтобы получить нужную индуктивность. Катушки и сопротивление (10Вт резистор марки ПЭВР) закрепил на куске фанерки и припаял необходимые провода. Вроде все готово. Можно начинать обратную сборку. Ставим фильтры на заднюю стенку колонки, припаиваем провода к терминалу. Заодно добавляю внутрь корпуса звукопоглотитель. Это подкладочный материал - шерстяной ватин. Отходы натуральной шерсти простеганные ХБ нитками. Крепил я его к стенкам колонки обычным мебельным степлером. Кусок такого же ватина поместил и в бокс для СЧ динамика. Прикрутил все динамики на место и устроил тестовое прослушивание. Хрипы на НЧ пропали. Бас появился и очень неплохой. Четкий с претензией на глубину. Большего от простых 6" динамиков ожидать было трудно. Среднечастотные динамики после замены на исправные и разделение объемов с НЧ стали очень неплохо воспроизводить голосовой диапазон. К ВЧ, как я уже говорил претензий не было. Шелковый купол трудно испортить. Осталась одна мелочь - крепеж защитных сеток над динамиками. Тут все просто. На лей Момент на сами колонки и на держатель радиоткани приклеил текстильные липучки. Для прочности пристегнул их еще и скобками. И вот уже полностью готовые колонки теперь звуком своим радуют. Хозяин довольный забрал их домой, захватив за одно и усилитель. Чувствительность у динамиков низкая и для раскачки нужен аппарат с выходной в районе 30-60Вт на канал.
 
	 
                     
                     
                     
                     
                     
                     
                     
                     
                     
                     
                     
                     
                     
                     
                     
                     
                     
                    